欢迎您访问洛阳鸿元轴承科技有限公司网站!
全国咨询热线:
18837917076
网站地图
首页
关于我们
公司简介
企业理念
发展历程
企业相册
产品展示
转台轴承
交叉滚子轴承
等截面薄壁轴承
精密转盘轴承
机器人减速器轴承
角接触球轴承
滚珠丝杠支撑轴承
圆柱滚子轴承
推力轴承
薄壁深沟球轴承
圆锥滚子轴承
行业应用
精密机床
数控转台
工业机器人
直驱电机
医疗器械
航空与国防
船舶重工
通讯测控
雷达设备
精密机械设备
新闻资讯
公司新闻
行业动态
常见问题
荣誉资质
荣誉证书
资质认证
联系我们
产品展示
转台轴承
交叉滚子轴承
等截面薄壁轴承
精密转盘轴承
机器人减速器轴承
角接触球轴承
滚珠丝杠支撑轴承
圆柱滚子轴承
推力轴承
薄壁深沟球轴承
圆锥滚子轴承
等截面薄壁轴承
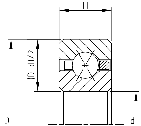
英制等截面薄壁四点接触球轴承
X型四点角接触球轴承与A、C型轴承的区别在于其滚珠沟槽的形状。深沟槽深度与四点接触结构使轴承能够承受径向、轴向载荷以及扭矩载荷。类似于一对A型轴承的背对背组合。
品牌:
滚道形状:
在线咨询
18837917076
产品详情
英制等截面薄壁四点接触球轴承
X型四点角接触球轴承与A、C型轴承的区别在于其滚珠沟槽的形状。深沟槽深度与四点接触结构使轴承能够承受径向、轴向载荷以及扭矩载荷。类似于一对A型轴承的背对背组合。
更多产品
单列圆柱滚子轴承
CSD型谐波减速器轴承
HVSU系列四点接触球转盘轴承
HXSA系列外齿圈交叉滚子转盘轴承
返回
友情链接:
全国咨询热线:
18837917076